Como instalar o Protetor de Hélice (Cruise eMast)?Atualizado 3 months ago
O Protetor de Hélice Cruise é compatível apenas com o Mastro Foil Assist Cruise AL e se fixa facilmente ao motor usando três parafusos fornecidos com o protetor de hélice.
Recomendamos fortemente o uso deste protetor, especialmente para os pilotos com pouca ou nenhuma experiência em foiling, pois ele proporciona uma camada adicional de segurança. Observe que, embora o protetor aumente a segurança, ele não protege totalmente contra o propeller em rotação. Cuidado ainda é recomendado ao usar o mastro Cruise com o protetor instalado.
⚠ Embora tenha um design hidrodinâmico, ele aumenta o consumo de energia, resultando em mais arrasto e redução na autonomia da bateria.
Aqui estão os passos sobre como instalar o Protetor de Hélice:

Remova a campana do motor e a hélice em linha reta.

Você só precisa remover os parafusos do motor; não é necessário remover o motor em si.

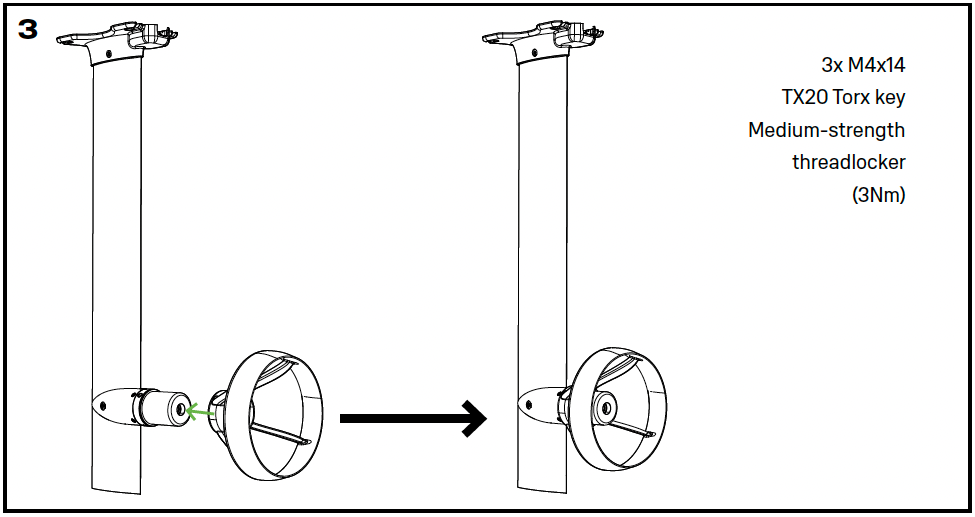
Insira o protetor sobre o motor e alinhe os furos para os parafusos.

Instale a campana do motor sobre o motor.
❗ Os ímãs são fortes — mantenha os dedos afastados do espaço entre o pod e a campana do motor para evitar pinçamentos ou lesões. Além disso, mantenha os dedos sempre afastados da hélice.
Uma vez que a campana do motor esteja instalada, verifique se ela gira livremente e se as lâminas da hélice não estão em contato com o protetor.